Адаптер Huntkey 12V-2A. Мини обзор, как дополнение к обзору адаптера Huawei 12V-2A
- Цена: 360 руб.
- Перейти в магазин
После опубликования обзора, решил заказать ещё один этот адаптер 12V-2A. Был умысел получить его от конторы Huntkey, про которую упоминает продавец. В принципе всё получилось, но так как на Озоне заметно увеличилась цена, то заказал его на Wildberries. Продавец тот же, но цена осталась старая. Адаптер приехал в эту пятницу.
Можно рассматривать как продолжение ЭТОГО ОБЗОРА. Как понимаю, эти адаптеры отправляют наугад покупателям — могут отправить Huawei 12V-2A, а могут отправить Huntkey 12V-2A. Про контору Huntkey смотрел ещё до покупки адаптера Huawei 12V-2A. Понятная контора, делают продукцию по заказу крупных клиентов/заказчиков.
Снова моментально привезли заказ, значит опять отправили из Новосибирска. Была всё та же картонная коробка, только в этот раз заказывал один адаптер.
Итого имеем — абсолютно такой же клетчатый корпус и плоский кабель на 20AWG. Поменялась только этикетка. Модель с этикетки — HKA02412020-3K. Так как интересовал только внутренний мир, то сразу разобрал адаптер.

Сама плата другая, но главное для нас, что это по-прежнему качественная и правильная плата 12V-2A.




Глобально, с точки зрения элементов и их номиналов, ничего не поменялось. Но некоторые элементы могут сыграть в плюс или минус конкретному человеку, в случае домашнего ремонта.
Фильтр сделан по полному варианту для класса адаптеров. Теперь два небольших стеклянных предохранителя в термоусадке — один предохранитель по синему варистору 561KD14. Азиатские производители чаще придерживаются варисторов для варианта «защита БП от кратковременных импульсных перенапряжений в сети». Есть небольшой черный термистор. По нему есть замечание в моём варианте — изначально был распаян с касанием высоковольтного конденсатора 400V-47uF (от Aishi, 16/25мм). Варистор и термистор без термоусадки. Х2-конденсатор 280V-0,22uF (15 мм по выводам). Диодный мост классика — в виде обычных диодов. Есть хороший синфазный дроссель.
Сфотал горячую часть и микросхему ШИМ. Конденсатор по ШИМ — 50V/10uF. Есть те же два Y-конденсатора с одной стороны залитых герметиком. Под ними даже сделали прорезь.



Холодная часть — диодная сборка MBR20100CT (100V-20A, корпус 220 метал). Только здесь она установлена без прокладки, радиатор изолирован.
TL431 в корпусе TO-92 и в термоусадке. Оптрон PC-817.
Холодная часть и пометил крепление радиатора диодной сборки.



Выходное напряжение под 12,2V. Защита так же срабатывает после значения тока 3А.
Теперь про индивидуальные моменты, которые подходят конкретно для меня на этом адаптере. На Huawei 12V-2A такого нет.
На плате есть место под любимый светодиод 3мм. Он не распаян и не распаян smd-резистор 0805. Светодиода нет по причине отсутствия окошка под них, на корпусе этих адаптеров.


Следующий положительный момент конкретно в моём случае — на выходе один конденсатор 16V-1000uF с размером 10/16мм, потом синфазный дроссель и конденсатор 16V-470uF с диаметром 8мм. Таких фирменных дома море, в любом исполнении и стандартные и полимерные.
Сюда же отнесу и высоковольтный 400V-47uF (16/25мм) — у меня ТАКИХ КОНДЕНСАТОРОВ на 450V запас в дежурной коробке (СЕРИЯ KXJ). Это на случай ремонта. Их ещё ставил в ТАКОЙ АДАПТЕР.

Мой план работ по этому адаптеру на субботу — сразу распаял любимый зелёный светодиод 3мм + smd-резистор 0805 (по памяти около 5.6 кОм). В крышке корпуса, над светодиодом, просверлил отверстие. Изнутри его заклеил прозрачным материалом+термоскотч. На выход поставил полимерные 16V/1000uF (Lelon OCRZ) и 25V/820uF (8/14мм) из предыдущего адаптера. Конденсаторы 16V/1000uF ставил с целью утилизации — им уже довольно много лет, брал задолго до известных событий. Отодвинул термистор и поставил на него термоусадку. Добавил ГЕРМЕТИК и снова, на этот белый герметик, склеил корпус. Покрасить лаком в этот раз не дали дома, не было временного запаса на проветривание.

Замечание по плате — не понравилось как сделаны проводки по 230V. Особенно один — там совсем мало оставили место с торца платы. Им пришлось ставить тонкие провода, не учли этот момент. Один проводок, при неудачном монтаже платы в корпус, может перетереться.
Общий итог — такой же качественный, равноценный адаптер 12V-2A. Можно смело покупать для домашнего использования. Мне он даже больше подходит, исходя из наличия деталей дома + любовь к светодиодам на выходе плат БП.
У меня всё. Всем здоровья и удачи.
Можно рассматривать как продолжение ЭТОГО ОБЗОРА. Как понимаю, эти адаптеры отправляют наугад покупателям — могут отправить Huawei 12V-2A, а могут отправить Huntkey 12V-2A. Про контору Huntkey смотрел ещё до покупки адаптера Huawei 12V-2A. Понятная контора, делают продукцию по заказу крупных клиентов/заказчиков.
Снова моментально привезли заказ, значит опять отправили из Новосибирска. Была всё та же картонная коробка, только в этот раз заказывал один адаптер.
Итого имеем — абсолютно такой же клетчатый корпус и плоский кабель на 20AWG. Поменялась только этикетка. Модель с этикетки — HKA02412020-3K. Так как интересовал только внутренний мир, то сразу разобрал адаптер.

Сама плата другая, но главное для нас, что это по-прежнему качественная и правильная плата 12V-2A.




Глобально, с точки зрения элементов и их номиналов, ничего не поменялось. Но некоторые элементы могут сыграть в плюс или минус конкретному человеку, в случае домашнего ремонта.
Фильтр сделан по полному варианту для класса адаптеров. Теперь два небольших стеклянных предохранителя в термоусадке — один предохранитель по синему варистору 561KD14. Азиатские производители чаще придерживаются варисторов для варианта «защита БП от кратковременных импульсных перенапряжений в сети». Есть небольшой черный термистор. По нему есть замечание в моём варианте — изначально был распаян с касанием высоковольтного конденсатора 400V-47uF (от Aishi, 16/25мм). Варистор и термистор без термоусадки. Х2-конденсатор 280V-0,22uF (15 мм по выводам). Диодный мост классика — в виде обычных диодов. Есть хороший синфазный дроссель.
Сфотал горячую часть и микросхему ШИМ. Конденсатор по ШИМ — 50V/10uF. Есть те же два Y-конденсатора с одной стороны залитых герметиком. Под ними даже сделали прорезь.



Холодная часть — диодная сборка MBR20100CT (100V-20A, корпус 220 метал). Только здесь она установлена без прокладки, радиатор изолирован.
TL431 в корпусе TO-92 и в термоусадке. Оптрон PC-817.
Холодная часть и пометил крепление радиатора диодной сборки.



Выходное напряжение под 12,2V. Защита так же срабатывает после значения тока 3А.
Теперь про индивидуальные моменты, которые подходят конкретно для меня на этом адаптере. На Huawei 12V-2A такого нет.
На плате есть место под любимый светодиод 3мм. Он не распаян и не распаян smd-резистор 0805. Светодиода нет по причине отсутствия окошка под них, на корпусе этих адаптеров.


Следующий положительный момент конкретно в моём случае — на выходе один конденсатор 16V-1000uF с размером 10/16мм, потом синфазный дроссель и конденсатор 16V-470uF с диаметром 8мм. Таких фирменных дома море, в любом исполнении и стандартные и полимерные.
Сюда же отнесу и высоковольтный 400V-47uF (16/25мм) — у меня ТАКИХ КОНДЕНСАТОРОВ на 450V запас в дежурной коробке (СЕРИЯ KXJ). Это на случай ремонта. Их ещё ставил в ТАКОЙ АДАПТЕР.

Мой план работ по этому адаптеру на субботу — сразу распаял любимый зелёный светодиод 3мм + smd-резистор 0805 (по памяти около 5.6 кОм). В крышке корпуса, над светодиодом, просверлил отверстие. Изнутри его заклеил прозрачным материалом+термоскотч. На выход поставил полимерные 16V/1000uF (Lelon OCRZ) и 25V/820uF (8/14мм) из предыдущего адаптера. Конденсаторы 16V/1000uF ставил с целью утилизации — им уже довольно много лет, брал задолго до известных событий. Отодвинул термистор и поставил на него термоусадку. Добавил ГЕРМЕТИК и снова, на этот белый герметик, склеил корпус. Покрасить лаком в этот раз не дали дома, не было временного запаса на проветривание.

Замечание по плате — не понравилось как сделаны проводки по 230V. Особенно один — там совсем мало оставили место с торца платы. Им пришлось ставить тонкие провода, не учли этот момент. Один проводок, при неудачном монтаже платы в корпус, может перетереться.
Общий итог — такой же качественный, равноценный адаптер 12V-2A. Можно смело покупать для домашнего использования. Мне он даже больше подходит, исходя из наличия деталей дома + любовь к светодиодам на выходе плат БП.
У меня всё. Всем здоровья и удачи.
Самые обсуждаемые обзоры
| +130 |
3066
97
|
| +20 |
1565
43
|
Продавец везде один — Reftel. В первом ОБЗОРЕ есть ссылки на него на Озоне, Wildberries и на Яндекс-маркете. Цена везде разная.
Продают на всех площадках и возможно, что есть у Вас в городских радиомагазинах и в магазинах электрики.
У телефонных зарядок обычно было около 5,0V + потери на кабеле и штекерах/разъёмах. Часто бывает, что достаточно просто повысить напряжение у телефонной зарядки и проблема пропадает.
Небольшая просадка по напряжению и начинаются выкрутасы.
Моя капризничала, пока я адаптер на 5,2v не поставил.
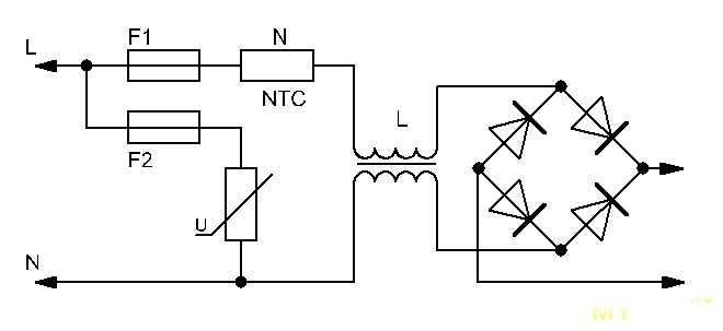
Если да, то какую функцию выполняет варистор на 560В?
Пришел всплеск вольт на 500 — вылетает HV кондер, он на 400В, вероятно шимка, ключь…
Всплеск вольт на 600 — выбивает F2, далее как в первом варианте кондер + шимка + ключь.
Логичней было б включит его между F1 и NTC без F2, ну или чтоб по дорожкам красиво было, после NTC.
Или в этом есть какой то сакральный смысл, /me не понимать.
обычно начинаешь копаться и ни одного нужного.
Вот такой штекер-переходник на с 5,5х2,1 выглядит очень надежно (разве что ещё добавить изоленты- термоусадки вплоть до с клеем по вкусу, для защиты от «выскальзования»)
Принесу ка я с работы еще…